Les portes sectionnelles sont installées dans les installations privées et industrielles. Les conceptions sont adaptées pour une ouverture dans un garage ou dans une clôture à l'entrée du site. La toile du passage de conception moderne complète organiquement le style architectural de l'hôtel particulier en raison de son apparence attrayante. Il est possible d'installer une porte de garage basculante de vos propres mains, car l'installation est simple si vous en connaissez les subtilités.
- Avantages et inconvénients d'une structure de levage
- Le principe de la porte basculante
- Matériaux pour la fabrication de structures
- Conception de porte sectionnelle
- Dessin d'une porte de garage relevable
- Choix de l'automatisation
- Sélection des matériaux
- Calcul des matériaux et préparation des outils
- montage de bricolage
- Conseils d'utilisation
Avantages et inconvénients d'une structure de levage

Une conception sélectionnée de manière optimale protège efficacement le garage des regards indiscrets, des précipitations et du vent. Économise de l'espace dans la pièce grâce au fait que le vantail se lève et se déplace vers le plafond. La rentabilité est assurée par une structure simple, peu de pièces.
Les avantages des portes sectionnelles :
- résistance aux chocs et protection fiable contre le cambriolage, étanchéité;
- le matériau de la toile est sélectionné de manière à ne pas s'effondrer à cause des conditions météorologiques et d'autres effets néfastes;
- le portail peut être installé dans de petites zones;
- diverses options de couture sont fournies;
- il y a une possibilité d'isolation avec des panneaux de mousse et de mousse de polystyrène.
Le mécanisme fonctionne en toute sécurité. Le contrôle mécanique et automatique est fourni. Le levage manuel est possible si des ressorts de compensation sont installés.
Seules les ouvertures à angle droit conviennent à l'installation. La portée est réduite de 20 cm lorsque le vantail est ouvert.
Le principe de la porte basculante

La toile se compose de sections individuelles reliées par des charnières et installées dans un cadre. Des glissières de guidage sont fixées sur les bords de l'ouverture et au plafond pour déplacer les segments. En cours d'ouverture, les sections tournent en biais et vont au plafond les unes après les autres. Le kit comprend un actionneur à levier à ressort ou un système de contrepoids.
Types de portes basculantes :
- Pivot. Ils appartiennent à la catégorie des structures simples, la structure a un châssis, un moteur, une charpente en acier. La porte s'élève à angle droit, se déplace vers l'intérieur jusqu'au plafond.
- Pliable. Il comprend étroitement plusieurs sections d'une largeur de 40 à 60 cm. Lorsqu'elles sont ouvertes, les segments se déplacent le long des patins de guidage.
- Roulé. La porte est pliée à partir de fines lattes d'aluminium. Lors de l'ouverture, la toile est enroulée avec une corde sur un tambour fixé au plafond. La structure compacte se caractérise par une faible résistance à l'effraction.
Le travail est contrôlé manuellement ou à l'aide d'un entraînement électrique et d'une télécommande. La lame est soulevée par les leviers au bas du cadre. Les profilés se déplacent au moyen de rouleaux aux extrémités du dormant. Un portail à entraînement simple s'ouvre en tirant sur la poignée en bas du vantail.
Matériaux pour la fabrication de structures

Les matériaux sont choisis en fonction du mécanisme d'ouverture et du type de portail. Si la porte est pliée à partir de panneaux sandwich, ils sont joints de manière à ne pas rouler les uns sur les autres pour éviter le gel au niveau des joints. Un panneau sandwich est une tôle d'acier connectée, entre laquelle un isolant thermique sous forme de mousse de polyuréthane expansé est renforcé.
L'épaisseur des éléments varie de 9 à 45 mm.Les dalles simples sont produites sans joint isolant, mais elles ne sont pas populaires. Les panneaux sandwich sont fabriqués avec un motif imitant l'ondulation, le lambris, le micro-ondes; avec une texture rappelant la cerise, le chêne, le bouleau, le marbre, le zeste d'orange.
Pour les toiles panoramiques, on utilise des profilés en aluminium avec des inserts en polycarbonate solide aux caractéristiques antichoc accrues. Dans les portes sectionnelles basculantes du garage, les dalles panoramiques sont associées à la pose de dalles sandwich. L'aluminium laminé et le remplissage peuvent être peints en différentes couleurs conformément au catalogue RAL.
Conception de porte sectionnelle

Des erreurs dans la disposition de l'ouverture conduisent au fait qu'il est presque impossible d'installer une porte sectionnelle dans une travée décorée. Les quartiers latéraux à côté de l'ouverture ne doivent pas être inférieurs à 130 - 150 mm. Si les murs de gauche ou de droite sont moins nombreux ou absents, l'installation des guides se produit en raison de l'ouverture d'entrée. La situation donne une diminution du jeu de 10 à 20 cm sur les côtés.
Le linteau doit être laissé avec une taille de 300 à 500 mm, selon le fabricant de la structure. L'augmentation de la hauteur du garage et du linteau augmentera le prix du portail et les coûts d'installation. La profondeur du garage est calculée de manière à ce que le vantail et l'opérateur puissent s'adapter sur toute la longueur. Une porte de garage de garage côte à côte nécessite une conception de mur central.
Dans la zone de mouvement au plafond, il est impossible de concevoir des lampes, d'autres éléments en surplomb, également dans la zone de travail, des portes et des fenêtres qui s'ouvrent vers l'intérieur et des tuyaux de communication ne sont pas prévus. Le soudage est plus couramment utilisé pour assembler des pièces métalliques. Il existe des moyens plus simples, mais vous devrez faire de nombreux trous, ce qui fragilisera la fixation.
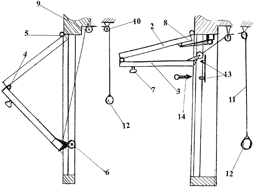
Dessin d'une porte de garage relevable
Conseils supplémentaires lors du choix de la conception et de l'emplacement des portes et des mécanismes :
- La hauteur de l'ouverture est prévue pour au moins 2,2 m, sinon son fonctionnement sera gênant.
- Lors du soudage, une rainure est laissée dans le profil inférieur de l'ouvrant pour y fixer un joint.
- Une toile d'une telle conception et de tels matériaux est conçue de manière à ce que son poids ne dépasse pas 100 kg.
- L'auto-entraînement de la ceinture de levage est constitué d'un treuil autobloquant avec un mécanisme d'inversion.
- La télécommande peut être manipulée par le dispositif d'alarme de voiture si elle est légèrement modifiée.
La toile prévoit de petits inserts de matériaux transmettant la lumière ou transparents afin d'économiser de l'électricité sur l'éclairage. Il y a des éléments de verrouillage pour éviter le pincement, pour protéger la structure de la rupture.
Choix de l'automatisation
Pour l'ouverture manuelle, un dispositif à ressort est fourni, grâce auquel le poids est compensé et la force est mesurée en 10 - 20 kg (100 - 200 N).
Autres types de coordination :
- Contrôle automatique. La porte est relevée et abaissée électriquement. L'appareil fonctionne à partir d'une cellule photoélectrique, d'un capteur infrarouge ou laser, d'un radar photo. Une méthode innovante de capture vidéo est appliquée, tandis que le système de lecture reconnaît la plaque d'immatriculation et la biométrie des personnes.
- Coordination à distance. L'actionneur électrique est actionné à partir d'une télécommande, d'un bouton sur une télécommande fixe, d'un téléphone portable (avec module GSM). Si l'appareil ne fonctionne pas ou s'il n'y a pas d'électricité, le déverrouillage est prévu.
Le déverrouillage interne est activé en tirant sur le cordon fixé au chariot, après quoi le portail fonctionne en mode manuel. L'accès au cordon apparaît en entrant dans la pièce par une porte supplémentaire. Le déverrouillage externe comprend une serrure à cylindre, une clé et un câble. La constipation est installée dans le corps de la toile, et le câble est amené à la serrure et au chariot. L'ouverture devient possible après utilisation de la clé.
Sélection des matériaux

Pour la fabrication du cadre de la porte basculante de leurs propres mains, ils préparent des barres en bois de différentes tailles. Vous aurez besoin de bois d'une section de 12 x 10 cm (boîte) et 10 x 10 cm (montage au plafond).
Autres matériaux:
- bande métallique de 40 mm de large, 2,5 - 3,0 mm d'épaisseur;
- coins pour la fabrication d'un cadre n ° 3,5 avec une paroi de 4,0 mm;
- coins pour coulisses de guidage n° 4, paroi 5,0 mm ;
- canal pour console n° 8, épaisseur 5,0 mm ;
- ressort avec une section intérieure de 3 cm;
- raccords métalliques d'un diamètre de 8 à 10 mm (pour le réglage de la tension).
Les bandes de guidage sont des profilés qui sont fixés à l'ouverture avec des cintres. Distinguer les éléments verticaux et horizontaux. Le premier type est utilisé lorsque la hauteur du garage et du linteau est de 2 fois ou plus la taille de l'ouverture.
Les mécanismes à ressort sont utilisés pour équilibrer de manière équilibrée les vantaux de porte lourds qui s'ouvrent vers le haut de leurs propres mains. Utilisez des bras de torsion et des ressorts de tension. Les premiers sont installés dans des installations industrielles, tandis que les seconds sont utilisés dans la construction privée.
Vous aurez besoin d'un matériau de rideau et d'un entraînement électrique pour le fonctionnement automatique du portail. Pour la production artisanale, un bouclier en bois, garni de tôles ou de panneaux sandwich sur le dessus, convient. Pour l'isolation thermique, on utilise du plastique mousse, de la mousse de polystyrène extrudé, un isolant en nattes.
Calcul des matériaux et préparation des outils
Le calcul des profilés métalliques, du matériau de la porte et des joints est effectué sur la base des informations du dessin. La surface de la couture est calculée, les draps sont pris pour qu'il y ait moins de déchets. Les pièces en acier peuvent être soudées ensemble, vous ne devez donc pas être lié à la longueur de vente du profilé.
Préparer des outils pour le travail :
- niveau bâtiment ou laser, fil à plomb, angle à 90° ;
- marteau, pinces, tournevis;
- ruban à mesurer, crayon, craie;
- perceuse, tournevis, meuleuse avec une molette pour le bois et le métal;
- soudeur;
- un jeu de clés, tournevis, perceuses pour métal, bois, béton.
Les outils manquants peuvent être loués pour la durée des travaux.
montage de bricolage

Le cadre fini est recouvert d'un bouclier et d'un matériau de finition. La base est constituée d'un coin, tandis que 2 trous sont percés dans une étagère profilée pour la fixation aux racks.
Prochaines étapes:
- Trois trous sont formés dans la tablette inférieure pour la fixation du ressort et trois autres pour la fixation du support de canal.
- Le ressort et le support sont reliés par une bande métallique de réglage. Un coordinateur de tension constitué d'une tige d'acier est fixé au fond du ressort.
Un côté est réalisé sous la forme d'un anneau, le second est fileté, l'ensemble charnière est formé à l'aide d'un coin avec un trou. Le dispositif est soudé au milieu du cadre entre le bord inférieur et le bras de levage. Une plaque avec un trou pour le coordinateur est soudée à l'extrémité du bras. Les rails sont fabriqués à partir de deux coins de sorte que la distance entre les étagères verticales opposées soit de 5 cm.
Conseils d'utilisation
Lors du levage de la toile, le processus est surveillé visuellement afin qu'il n'y ait ni personnes ni objets dans la zone de travail. Il est interdit de gêner le mouvement de l'ouvrant, lors de la descente, être dans la zone de mouvement. Ne donnez pas la télécommande aux enfants, laissez-les ouvrir la porte du garage.
Si des dommages aux câbles, pièces, câbles électriques sont constatés, les réparations sont effectuées avec l'aide de spécialistes. Il en va de même pour l'apparition d'odeurs piquantes, de bruits inattendus. L'entrée et la sortie sont autorisées après un arrêt complet de la piste en position limite.
Vous ne pouvez pas modifier vous-même le schéma de la porte et ajouter des détails structurels. Les unités de travail et les pièces de friction doivent être régulièrement nettoyées des débris et lubrifiées.









