À première vue, l'organisation d'un système d'alimentation en chaleur pour une maison à un étage ne devrait pas présenter de grandes difficultés. Par conséquent, peu d'attention y est accordée. Mais si vous abordez la solution de ce problème sans professionnalisme approprié, des problèmes sont possibles à l'avenir. Par conséquent, il est nécessaire de choisir le système de chauffage pour une maison privée à un étage avec vos propres mains, les schémas et les accessoires seront optimaux dans un cas particulier.
- Caractéristiques de l'organisation du chauffage d'une maison à un étage
- Chauffage au poêle d'une maison à un étage
- Choisir un système de chauffage de l'eau pour une maison
- Système de chauffage monotube dans une maison à un étage
- Système d'alimentation en chaleur à deux tuyaux à la maison
- Choisir une chaudière de chauffage pour une maison à un étage
- Tuyaux, vase d'expansion et composants du système de chauffage
Caractéristiques de l'organisation du chauffage d'une maison à un étage

Déjà à la première étape, le propriétaire de l'immeuble peut être confronté à certains problèmes. Le premier d'entre eux est le choix du schéma d'alimentation en chaleur optimal. Le plus souvent, le chauffage de l'eau est organisé dans une maison privée d'un étage. Mais il existe d'autres options pour maintenir la température optimale dans les locaux.
Pourquoi le choix de l'une ou l'autre source de chauffage de l'air dépend-il? Tout d'abord, cela dépend de la disponibilité des ressources énergétiques. Un projet professionnel d'une maison à un étage avec chauffage par poêle doit prendre en compte non seulement le bon poêle, mais également la répartition uniforme de la chaleur dans tout le bâtiment, ainsi que l'emplacement de stockage du bois de chauffage ou du charbon.
Le propriétaire de l'immeuble, avant de chauffer lui-même une maison à un étage, doit résoudre les problèmes suivants:
- Choisissez une source d'énergie thermique - poêle, cheminée, eau ou chauffage électrique.
- Dans le cas de l'approvisionnement en eau, sélectionnez la disposition optimale de la tuyauterie.
- Calculez la puissance et la charge thermique du système. Sans cela, chauffer de ses propres mains une maison privée à un étage sera inefficace. Des coûts énergétiques excessifs ou une température insuffisante dans le bâtiment sont possibles.
La difficulté de choisir est souvent due à un petit budget. Mais même ainsi, le schéma de chauffage de l'eau d'une maison à un étage doit répondre aux exigences et aux normes modernes.
Il est recommandé d'isoler le bâtiment avant d'installer le système. Ensuite, une maison d'un étage avec chauffage par poêle aura des pertes de chaleur minimales, ce qui affectera la réduction des coûts.
Chauffage au poêle d'une maison à un étage

Malgré la possibilité d'installer un chauffe-eau à part entière dans une maison privée à un étage, dans certains cas, le choix s'arrête au poêle. S'il est bien organisé, il remplira toutes ses fonctions. Mais pour cela, il est nécessaire de réfléchir à tous les éléments du système.
La première priorité du propriétaire est de décider si la surface du poêle sera la seule source de chaleur. Cette option n'est utile que si la maison a une petite surface allant jusqu'à 60 m². Dans ce cas, des projets de maison à un étage avec chauffage par poêle sont sélectionnés, où une structure en briques est posée. Avec le bon schéma d'installation, l'air de la pièce sera chauffé à partir de la surface du four, qui a une surface assez grande. De plus, un système complexe de canaux de fumée est en train d'être équipé pour en recevoir la chaleur.

Si ces mesures ne suffisent pas, vous pouvez installer un échangeur de chaleur dans la fournaise. Ainsi, un système de chauffage à deux tuyaux ou à un tuyau d'une maison à un étage est organisé, où le four est la principale source de chauffage du liquide de refroidissement.
Lors du choix d'un tel schéma, vous pouvez faire face aux difficultés suivantes:
- Puissance calorifique du four mal calculée, volume et emplacement de l'échangeur de chaleur. En conséquence, l'eau dans les tuyaux surchauffera ou aura une température insuffisante;
- Grand volume de four. Considérant que dans ce cas, l'aménagement du chauffage d'une maison à un étage prendra peu de place, mais en même temps, le poêle réduira considérablement la surface habitable du bâtiment;
- Faible efficacité du système.

L'installation du chauffage par poêle dans une maison à un étage n'est effectuée dans la plupart des cas que s'il existe une structure prête à l'emploi. Cela entraîne des économies de coûts - pas besoin d'acheter un four prêt à l'emploi. Si ce n'est pas là, ils préfèrent ne pas faire une maison d'un étage avec le chauffage d'un poêle. Il est beaucoup plus efficace d'utiliser des chaudières modernes - à combustible solide, à gaz ou électriques.
Dans le projet d'une maison à un étage avec alimentation en chaleur du poêle, le diamètre de la cheminée doit être d'au moins 100 mm. Cela est dû à la grande quantité de monoxyde de carbone. Sinon, le tirage sera faible, ce qui affectera le processus de combustion.
Choisir un système de chauffage de l'eau pour une maison

L'installation de chauffage à eau chaude est considérée comme l'un des meilleurs moyens de maintenir une température confortable dans la maison. Dans le même temps, le propriétaire a le choix - un système de chauffage à deux tuyaux pour une maison à un étage ou un analogue à un tuyau. Vous devez également prendre en compte d'autres nuances d'organisation de ce type d'approvisionnement en chaleur.
Tout d'abord, vous devez décider s'il s'agira d'un système de chauffage pour une maison à un étage avec circulation naturelle ou forcée. Dans le premier cas, le mouvement du liquide de refroidissement s'effectue du fait de sa dilatation thermique. Cette méthode n'est pertinente que pour les petits systèmes de chauffage. Si la superficie totale de la maison dépasse 60 m², il est recommandé d'installer une pompe de circulation.

Dans ce cas, le chauffage de l'eau d'une maison à un étage à circulation naturelle ne posera aucun problème:
- Répartition inégale de la chaleur sur les radiateurs et les batteries ;
- Installation obligatoire de tuyaux de gros diamètres (40 mm) pour réduire les pertes dues au frottement de l'eau sur la surface intérieure de la ligne ;
- Inertie du système. Temps de chauffe long en raison d'une augmentation lente de la température du liquide de refroidissement.
Cependant, le système de chauffage d'une maison privée d'un étage avec pompe présente également un inconvénient: la dépendance à l'électricité. Mais dans ce cas, avec la bonne tuyauterie de la pompe, vous pouvez facilement créer un schéma de chauffage pour une maison d'un étage à circulation naturelle.
Si vous avez besoin d'un fonctionnement constant de la pompe, vous pouvez ajouter une alimentation sans interruption au système.
Pour chauffer l'eau d'une maison à un étage à circulation naturelle, il est préférable de choisir des tuyaux en acier d'un diamètre de 36 à 40 mm. Hélas, il est difficile de trouver des homologues en plastique avec les mêmes dimensions sur le marché.
Système de chauffage monotube dans une maison à un étage

C'est l'une des méthodes de chauffage les plus économiques. L'avantage d'un système de chauffage monotube pour une maison à un étage est de n'installer qu'une seule ligne principale, à laquelle les radiateurs et les batteries sont connectés en série.
Dans ce cas, vous devez prendre en compte les caractéristiques de ce schéma de câblage. Il est mis en œuvre dans des maisons de petite superficie. Si la longueur totale de la ligne dépasse 30 m, il n'est pas recommandé d'installer un système de chauffage monotube dans un bâtiment à un étage. Le liquide de refroidissement se refroidira, atteignant les derniers radiateurs de la chaîne. Les circuits avec pompe de circulation ont une longueur maximale légèrement supérieure - jusqu'à 50 m.

Que faut-il prendre en compte lors de la conception de vos propres mains pour le chauffage monotube dans une maison privée à un étage?
- Possibilité de poser des tuyaux dans des endroits difficiles d'accès ;
- Pour le système gravitaire, il est impératif d'observer la pente des autoroutes.Il doit être de 3 à 4 mm pour 1 ml. canalisations;
- Nombre minimum d'unités pivotantes et diviseuses. Cela réduira la résistance hydraulique lorsque le liquide de refroidissement se déplace.
Lors de l'installation de vos propres mains de radiateurs de chauffage pour une maison à un étage, vous devez effectuer des contournements.
En plus de ces facteurs, la chaudière doit être correctement positionnée par rapport aux autres appareils de chauffage. Il doit être au point le plus bas du système.
La longueur totale de la colonne montante de surpression depuis la chaudière doit être d'au moins 2 mètres. Ce composant n'est requis que pour les systèmes d'alimentation en chaleur d'une maison d'un étage à circulation naturelle.
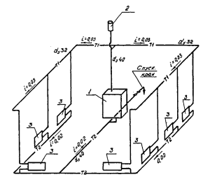
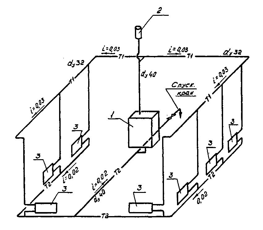
Système d'alimentation en chaleur à deux tuyaux à la maison

Presque tous les systèmes de chauffage d'une maison à un étage avec une chaudière à double circuit sont mis en œuvre sur la base d'un système à deux tuyaux. Il diffère de celui décrit ci-dessus par la présence d'une deuxième ligne par laquelle s'écoule le fluide caloporteur refroidi. Il est raccordé au tuyau de retour de la chaudière pour réchauffer l'eau.
Dans ce schéma de chauffage de l'eau d'une maison à un étage, les radiateurs sont connectés en parallèle. Ceux. de la conduite d'alimentation, un tuyau de raccordement est dévié vers chaque appareil. Un tel système se caractérise par les caractéristiques de fonctionnement et de conception suivantes :
- Augmentation du nombre de consommables pour l'installation de la canalisation de retour ;
- Répartition uniforme de la chaleur sur tous les radiateurs ;
- La possibilité de réparer ou de remplacer la batterie sans arrêter l'ensemble du système ;
- Avec le calcul correct du schéma de chauffage d'une maison à un étage avec une chaudière à double circuit, vous pouvez augmenter la longueur du système en installant de nouveaux tuyaux et radiateurs. Mais en même temps, la puissance de la chaudière doit assurer le bon niveau de chauffage du liquide de refroidissement.
Pour un système de chauffage à deux tuyaux d'une maison à un étage, les principaux paramètres sont nécessairement calculés - le diamètre des tuyaux, la distribution hydraulique et thermique. Sans cela, le système risque de ne pas fonctionner assez efficacement.
Pour les circuits de chauffage gravitationnels et fermés, un vase d'expansion doit être installé. Il diffère dans le lieu d'installation et de conception, en fonction du type de chauffage de l'eau dans une maison privée à un étage.
Choisir une chaudière de chauffage pour une maison à un étage

La prochaine étape importante dans la planification des schémas de câblage de chauffage pour une maison à un étage est la sélection d'une chaudière. Il doit assurer le chauffage de l'eau dans les tuyaux et en même temps avoir un facteur d'efficacité élevé.
Si une maison à un étage ne sera pas équipée d'un chauffage par poêle, il est nécessaire de choisir le type de chaudière optimal. Actuellement, les fabricants proposent plusieurs types de ces équipements, qui diffèrent par le vecteur d'énergie utilisé, la configuration et la fonctionnalité. Considérez les principaux critères de choix d'une chaudière pour l'organisation correcte du chauffage dans une maison privée à un étage de nos propres mains:
- Type de carburant utilisé - gaz, charbon, bois de chauffage, gasoil, pellets. Cela dépend de la disponibilité et du coût de chaque type de vecteur énergétique ;
- Équipement... Les plus rationnels sont les schémas d'alimentation en chaleur d'une maison à un étage avec une chaudière à double circuit. Il comprend non seulement un vase d'expansion et une pompe de circulation, mais fournit également l'alimentation en eau chaude. Cependant, le coût de tels équipements est beaucoup plus élevé que celui des simples chaudières à combustible solide ;
- Type de montage - mur ou sol. Les chaudières à gaz de puissance relativement faible (jusqu'à 30 kW) peuvent être fixées au mur. Tous les modèles à combustible solide sont disponibles uniquement en version sur pied.
Un facteur important est le coût de l'équipement. Il convient de garder à l'esprit que dans le schéma de chauffage d'une maison privée à un étage, une pompe est nécessaire si elle n'est pas incluse dans la configuration de la chaudière.
| Modèle | Type de chaudière | puissance, kWt | Coût, frotter. |
| BAXI PRINCIPAL 5 14F | Mur de gaz | 14 | 36480 |
| CHIFFON NOVELLA AVTONOM 24 | Plancher de gaz | 24 | 75940 |
| PROTHERM 30 NL | Combustible solide + liquide | 30 | 48290 |
| WIRBEL GS 04 | Combustible solide | 24 | 84520 |
| RusNIT 224 | Électrique | 24 | 26740 |
Dans la pratique, les modèles de chaudières à gaz et à combustible solide peuvent être utilisés pour organiser l'approvisionnement en chaleur d'une maison à un étage de leurs propres mains. Tout dépend de la disponibilité du vecteur énergétique.
Pour les chaudières à combustible solide, une pièce séparée à circulation forcée est requise. Les matières inflammables, y compris le carburant, ne doivent pas y être stockées.
Tuyaux, vase d'expansion et composants du système de chauffage

En plus des chaudières, dans tout schéma de chauffage de l'eau pour une maison à un étage, d'autres composants obligatoires doivent être présents. Ceux-ci comprennent les tuyaux, les radiateurs, les groupes de sécurité, les vases d'expansion.
Le choix des éléments dépend directement de la disposition des canalisations, du mode de déplacement du fluide caloporteur (gravitationnel ou forcé), ainsi que du budget d'organisation de l'apport de chaleur. Considérez la configuration minimale du système pour les systèmes de chauffage d'une maison privée à un étage avec une pompe et une tuyauterie à deux tuyaux :
- Tuyaux... Pour la circulation forcée, des modèles en polypropylène avec des diamètres de 16 à 24 mm peuvent être utilisés. Dans un système gravitationnel, cet indicateur doit être d'au moins 369 mm. Par conséquent, les pipelines en acier seraient la meilleure option pour elle ;
- Vase d'expansion... Pour le chauffage de l'eau d'une maison à un étage à circulation naturelle, il s'agit d'un conteneur ordinaire avec deux tuyaux de raccordement. Il est installé dans la partie la plus haute du circuit. Dans les systèmes fermés, des vases d'expansion à membrane sont utilisés, montés sur le tuyau de retour devant la pompe de circulation ;
- Groupe de sécurité - choix et installation d'un purgeur d'air et d'une vanne de vidange. Composants obligatoires pour l'alimentation en chaleur fermée, dans lesquels la pression n'est pas égale à la pression atmosphérique.
En plus de ces éléments, le régime peut en prévoir d'autres. En particulier, les vannes d'arrêt. Il est nécessaire de limiter le débit de liquide de refroidissement dans certaines parties du système. Pour optimiser le chauffage des radiateurs, des thermostats sont installés. Il est impératif d'installer des grues Mayevsky dans le cerclage de la batterie. Ils sont conçus pour éliminer l'air du système de chauffage en temps opportun.
Si toutes les options ci-dessus sont inacceptables, vous pouvez envisager d'installer un chauffage électrique à film ou des convecteurs. Ils sont pertinents pour les maisons à un étage avec résidence non permanente. Malgré les coûts d'entretien élevés (coût de l'électricité), le chauffage électrique se caractérise par une faible inertie et une indépendance par rapport à la température ambiante initiale.
La vidéo montre un schéma de l'organisation du chauffage monotube d'une maison à un étage:







