Pour chauffer une habitation dans un village sans gaz, une maison de campagne ou un chalet d'été, un poêle-cheminée avec un circuit d'eau convient. L'unité fonctionne au combustible solide, assure le chauffage parallèle de la pièce et du liquide de refroidissement dans les tuyaux. L'eau peut être utilisée comme source de chaleur et pour les besoins domestiques. Avant d'installer l'équipement, vous devez décider du matériau de fabrication et comprendre la technologie de connexion.
- Les principaux types de poêles-cheminées avec circuit d'eau
- Modèles en acier
- Cheminées en fonte
- Modèles combinés
- Foyers à cassettes
- Foyers à eau de type coin
- Avantages et inconvénients des poêles-cheminées à eau
- Caractéristiques de choix, installation et fonctionnement à faire soi-même
- montage de bricolage
- Règles de fonctionnement
- Caractéristiques de connexion au système de chauffage
- Type de circulation naturelle
- Type de circulation forcée
- Examen des poêles-cheminées populaires avec un circuit d'eau
Les principaux types de poêles-cheminées avec circuit d'eau

Le poêle est sélectionné au stade de la conception de la maison. Cela vous permettra de corréler la structure avec d'autres objets, de masquer sa liaison. Lors de l'installation d'unités de chauffage après la construction, tenez compte de leurs variétés.
Modèles en acier
Ils diffèrent par leur coût abordable et leur facilité d'utilisation. L'échangeur de chaleur est en métal résistant à la chaleur de 3 à 5 mm d'épaisseur et n'a pas de coutures. Pour le revêtement extérieur, on utilise de l'argile réfractaire, de la céramique et des feuilles de fonte. Le collecteur de fumée, le diffuseur de flamme et le déflecteur de foyer sont en acier ou en fonte. La grille est exclusivement en fonte.
En raison de la flexibilité du matériau, la structure peut avoir n'importe quelle forme. Le revêtement en argile réfractaire ou en céramique augmente la durée de vie du poêle.
Les pièces en acier sont sujettes à la corrosion, par conséquent, le four doit être chauffé dans un mode avec une production minimale de condensat.
Cheminées en fonte

Les cheminées de type fonte peuvent être connectées à un système de radiateurs commun et fournir un chauffage efficace d'une maison de n'importe quelle quadrature. L'appareil comprend les éléments suivants :
- un échangeur de chaleur équipé d'un serpentin - utilisé pour faire circuler l'eau ;
- circuit de chauffage - une bobine y est connectée;
- un circuit composé de radiateurs, de vases d'expansion, de tuyaux avec raccords et d'une pompe ;
- foyer ouvert ou fermé;
- grille - nécessaire pour la ventilation des masses d'air et l'élimination des produits de combustion;
- cendrier avec plateau coulissant - les cendres tombent dessus lors du nettoyage;
- cheminée avec un collecteur de fumée pour la fixation.
Un poêle en fonte ne brûle pas l'oxygène dans la pièce, a une capacité calorifique élevée et ne refroidit pas pendant une longue période. Lorsqu'il est exposé à des températures élevées, le matériau ne se fissure pas et ne se déforme pas.
Modèles combinés

Les foyers à combustion longue conviennent si vous avez une maison avec plusieurs pièces ou un chalet. Des modifications combinées sont effectuées avec un corps en acier et des pièces en fonte, qui sont exposées au feu. Le plus souvent, il s'agit d'un foyer et d'une plaque de cuisson. Le corps en acier inoxydable exclut la fissuration de la fonte lors de températures extrêmes, et les parois en fonte ne permettent pas à l'acier de fondre en cas de surchauffe.
La conception d'un poêle-cheminée à combustion longue avec un circuit d'eau pour le chauffage est présentée:
- une chambre de combustion dans laquelle est déposé du bois de chauffage ;
- un compartiment de soufflage avec une grille et un cendrier rétractable en dessous ;
- chambre de postcombustion des gaz de pyrolyse ;
- une cloison entre le foyer et le compartiment de postcombustion ;
- cheminée, où le tuyau est conduit;
- une porte en fonte ou en verre résistant à la chaleur.
Les produits se distinguent par leur efficacité élevée, leur compacité et leur durabilité. L'aspect esthétique et la capacité calorifique supplémentaire sont fournis par le revêtement en céramique.
Foyers à cassettes

La cheminée à cassette ressemble à une cheminée à bois classique. Pour la fabrication du foyer, du cadre et des parois, on utilise de l'acier ou de la fonte. Les unités de chauffage peuvent fonctionner automatiquement, sans contrôle constant de l'utilisateur. La finition du boîtier remplit la fonction de protection et est faite de carreaux de céramique, de pierre naturelle ou artificielle.
Le produit se distingue des modifications standards :
- efficacité - typique pour les modèles fermés;
- polyvalence - en raison de leur efficacité élevée, ils sont utilisés comme source de chaleur principale et auxiliaire;
- la présence d'une cheminée de contact de faible section et d'un tuyau raccourci pour une évacuation rapide des produits de combustion;
- éléments de cassette - la cassette fournit un chauffage rapide, est équipée d'un système de bouches d'aération intégrées;
- portes coupe-feu en verre dépoli ou transparent.
Pour un chauffage intensif, un disque distributeur métallique peut être installé.
En fonction de la puissance, des dimensions de l'équipement et de la quadrature de la zone chauffée, vous pouvez choisir des cassettes :
- pour une installation dans un foyer ouvert : ils donnent un minimum de chaleur, mais ils conviennent si vous avez une petite datcha de 1-2 pièces ;
- pour une installation dans un foyer fermé : ils diffèrent par leur puissance, ils chauffent efficacement une grande maison.
Le four à cassettes refroidit rapidement, mais un portail en briques est organisé pour maximiser les économies de chaleur.
Foyers à eau de type coin

La version d'angle des unités de chauffage a la forme d'un triangle ou d'un pentagone. Dans le premier cas, il n'y a pas de four, et dans le second, il y a une grande plaque de cuisson pour cuisiner.
Les parois arrière du foyer sont situées à angle droit les unes par rapport aux autres. Les structures sont adaptées aux petites pièces, elles sont ergonomiques et compactes. La partie basse du massif du four est équipée d'un séchoir à bois ou d'une soufflerie extractible. Il peut y avoir des armoires décoratives en briques près des côtés. L'insert de cheminée a une forme semi-circulaire, carrée, rectangulaire ou trapézoïdale.
Les structures de type coin présentent plusieurs avantages :
- compacité par rapport aux éléments muraux ou en îlot ;
- rationalité d'utiliser une petite pièce;
- facilité d'auto-installation;
- la possibilité de décorer avec du plâtre, des carreaux de céramique, un portail prêt à l'emploi.
Les versions d'angle génèrent une chaleur maximale à une taille minimale.
Avantages et inconvénients des poêles-cheminées à eau

Les inserts de cheminée et les poêles à échangeur de chaleur liquide présentent de nombreux avantages :
- indépendance vis-à-vis de l'électricité et du gaz - le bois de chauffage est utilisé pour les signets ;
- dimensions compactes, adaptées à toutes les zones de la pièce;
- la possibilité d'utiliser pour le chauffage et la cuisson;
- maintenir un régime de température confortable dans une grande maison;
- uniformité de la distribution et de l'apport de chaleur aux pièces éloignées;
- haute efficacité avec des coûts de carburant minimes;
- fonctionnement des poêles avec un circuit et un ballon pour l'alimentation en eau chaude;
- sécurité - les parties extérieures du boîtier avec doublure ne chauffent pas;
- raccordement à un système de chauffage par radiateur.
Un poêle-cheminée avec système d'eau présente plusieurs inconvénients :
- automatisation minimale des modèles en brique et en métal;
- temps consacré à la pose du foyer et à l'allumage du feu ;
- la formation de suie, de suie et de fumée lors de l'utilisation de bois de chauffage de conifères, de cerises, de saules;
- refroidissement rapide des modifications en acier;
- toutes les unités ne sont pas adaptées à la combustion du charbon.
Vous pouvez chauffer le poêle avec du charme, du tremble, du bouleau, des bûches de hêtre ou des briquettes spéciales.
Caractéristiques de choix, installation et fonctionnement à faire soi-même

Une cheminée équipée d'un système avec un circuit et une chaudière convient au chauffage à eau chaude de toutes les pièces de la maison. Il est connecté au système par des tuyaux dans la chambre de combustion. Lors de l'achat d'équipement, vous devez considérer:
- Caractéristiques d'installation et de connexion sécurisées aux communications.
- Pouvoir. Pour une maison d'une superficie totale de 100 m2, les modèles à partir de 7 kW conviennent; dans les pièces de moins de 80 m2, un équipement de faible puissance est acceptable. Il convient de garder à l'esprit que 1 kW de puissance permet de chauffer 10 m2 de l'habitation.
- Matériel. Les unités en acier à faible coût sont plus sujettes à la corrosion. Ceux en fonte accumulent de la chaleur pendant longtemps, mais leur prix est plus élevé.
- La présence d'un mode de combustion longue. Ces appareils sont économes en énergie et ont une efficacité de 75 à 90 %.
- Ensemble complet. Un foyer à eau standard est équipé d'un cendrier, de tuyaux, d'une cheminée, d'une plaque de cuisson, d'un volet résistant à la chaleur.
- Possibilité de verser de l'antigel dans le système. La solution de glycérine, l'éthylène glycol et le propylène glycol ne gèlent pas à -30 degrés.
Tous les paramètres techniques sont dans la documentation du fabricant.
montage de bricolage

La compacité et le faible poids de l'équipement de la cheminée excluent la construction d'une fondation massive. Il suffit de réaliser un revêtement de sol en tôle, de poser des carreaux ou un autre revêtement résistant au feu. L'auto-installation se fait comme suit :
- Retirer l'emballage d'origine et vérifier l'intégrité de la structure.
- Contrôle de niveau du revêtement fini.
- Retrait du tuyau de dérivation au même niveau que le conduit de cheminée.
- Assemblage des éléments de sortie de gaz.
- Installation de la grille, du cendrier, de la grille et de l'ouvrant.
- Sceller l'endroit où le foyer est connecté à la cheminée, ainsi que les joints et les coutures.
La canalisation à circuit unique est isolée.
Règles de fonctionnement

Lors de l'utilisation de foyers avec échangeur de chaleur hydraulique, un certain nombre d'exigences doivent être respectées :
- Nettoyage des conduits de fumée de la suie 2 fois par an.
- Élimination régulière, au fur et à mesure qu'elle s'accumule, des cendres du four et du cendrier.
- Vidange de l'eau des canalisations si le système n'est pas utilisé en été.
- Inspection préliminaire des radiateurs, du réservoir, de la pompe, des raccords et des filtres avant de démarrer le chauffage.
- Nettoyage de la porte vitrée avec des produits spéciaux.
- Remplir les échangeurs de chaleur avec de l'eau pour éviter le grillage.
- Alimentation en eau chaude en mode four préchauffé.
- Utilisation d'une pompe de circulation avec dérivation pour améliorer l'efficacité du système.
En hiver, il est permis de verser de l'antigel dans les communications.
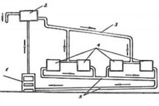
Caractéristiques de connexion au système de chauffage
Le raccordement d'un foyer à eau au système s'effectue en présence d'un liquide de refroidissement dans le circuit, en tenant compte de sa circulation.
Type de circulation naturelle

Les unités avec un circuit d'eau sont raccordées comme suit :
- Construction d'un collecteur de surpression derrière l'échangeur de chaleur pour élever le liquide de refroidissement au point le plus élevé.
- Installation du vase d'expansion par le haut.
- Construction d'une conduite de chauffage à partir de tuyaux d'au moins 32 mm de diamètre.
- Respect de la pente - 5 cm sur 1 m pour une circulation normale.
Utilisez des tuyaux de 16 à 20 mm de diamètre pour raccorder le système aux radiateurs.
Type de circulation forcée
La circulation forcée de l'eau apporte plusieurs nuances :
- un vase d'expansion est installé sur n'importe quelle section de la ligne;
- les batteries sont connectées de quelque manière que ce soit ;
- il n'est pas nécessaire d'observer la pente de la piste ;
- une unité automatique peut être utilisée pour empêcher la condensation dans le foyer.
Placer un vase d'expansion sur le tuyau de retour derrière la pompe.
Examen des poêles-cheminées populaires avec un circuit d'eau

Les fabricants modernes produisent des foyers à eau pour chauffer les petites maisons et les grandes pièces.Les consommateurs préfèrent plusieurs options :
- Koza / K6, Kratki. Unité de chauffage compacte pour une petite maison avec intensité de flamme réglable. La puissance est de 8 kW, le foyer est en fonte.
- Bavaria Trois verres, EcoFireplace. Un poêle au design original d'un foyer en acier vitré sur trois côtés. La cheminée est raccordée par le haut et par l'arrière. Un appareil de chauffage avec un mode de postcombustion secondaire est capable de chauffer la pièce pendant environ 6 heures.
- Professeur Butakov, Termofor. Disponible avec une porte en acier, en fonte avec une fenêtre et un système de tuyau de convection blindé. Convient pour équiper un entrepôt, hangar pour 1000 carrés. L'efficacité est de 80% grâce à la direction de l'air dans la postcombustion avec des jets spéciaux.
- Joyeux rouge, MBS. Cheminée de style pour une pièce de 45 m2. Fabriqué en acier et en fonte selon la méthode du cadre. Le foyer est encadré de chamotte, la différence de température est lissée par un déflecteur en vermiculite. L'efficacité est de 82%.
- PC-01, Vésuve. Le modèle avec plaque de cuisson chauffera la maison de 150 mètres carrés. Le foyer est chauffé par un ventilateur électrique, dégagement de chaleur lors d'une combustion prolongée - 5 heures. l'intensité de la combustion est régulée par le volet de soufflage.
- Lave, Guca. L'appareil en fonte d'une surface de chauffe de 89 m2 est équipé de deux régulateurs - dans le foyer et dans le cendrier. La cheminée est raccordée à l'arrière ou sur le côté.
Tous les poêles-cheminées sont sûrs, équipés d'une notice d'utilisation.
Un poêle-cheminée avec échangeur de chaleur à eau convient aux bâtiments de toute taille. L'unité se caractérise par son efficacité, sa facilité d'installation et de fonctionnement. Lors de sa sélection, vous devez prendre en compte les paramètres de puissance, les spécificités de la conception et la quadrature chauffée.








