Le renforcement est un ensemble de diverses structures métalliques destinées au renforcement. Le plus souvent, ces produits sont utilisés dans la construction pour renforcer les structures en béton. Le béton peut bien supporter les charges portantes, mais n'est pas résistant à la tension, à la compression ou à la charge de flexion. Le cadre métallique offre ces propriétés.
Classement général des raccords
Sur rendez-vous les cannes sont divisées en 4 classes.
- Travail - perçoit l'effort de la charge principale. Ses dimensions sont calculées en fonction de l'effort maximum.
- Constructif - conçu pour compenser la charge lors du retrait, de l'expansion, de la compression. Calculé sur la base du pourcentage minimum de ferraillage.
- Montage - combine le renforcement structurel de travail en un seul ensemble et répartit uniformément la charge.
- Ancre - les pièces encastrées sur lesquelles sont soudées les structures porteuses.
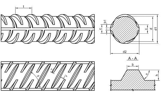
Par type de tige - ondulé ou lisse.
Par propriétés mécaniques il y a 5 classes.
- A1 (A240) - acier lisse laminé à chaud, généralement rond. Le diamètre de la barre ne dépasse pas 12 mm, elle est produite uniquement sous forme de barres.
- A2 (A300) - barre ondulée. Les arêtes verticales sont espacées d'un grand pas. Presque pas utilisé maintenant.
- A3 (A400) - profil en acier rond périodique. Fabriqué en acier de construction allié et faiblement allié. En raison de sa facilité de soudage, il sert de matériau principal pour le renforcement. Les cartes et les grilles sont faites à partir des tiges.
- A5 (A600) - le diamètre de la barre est de 6 à 36 mm. Le ferraillage est pris pour les ouvrages à grandes longueurs. Les tiges conviennent à la construction de cadres de précontrainte.
- A6 (A800) - raccords ondulés laminés à chaud. Pour augmenter la résistance du produit, la méthode de refroidissement intermittent est utilisée. Les tiges sont utilisées pour les cadres de tension.
Il existe de nombreux types de produits laminés qui occupent une position intermédiaire, par exemple la classe A500.
Caractéristiques des raccords A500S

Les raccords A500C sont des tiges et des fils obtenus renforcement de l'acier au carbone... Sa principale différence est avant la production, l'alliage est durci à chaud... Pour cela, les pièces sont chauffées jusqu'à l'apparition d'une grande plasticité, puis laminées dans le broyeur. Le relief du produit est formé sur les rouleaux.
La barre est trempée avec de l'eau pour former une couche de trempe supérieure. La tige est ensuite transférée au réfrigérateur où la structure finale est formée. En conséquence, un produit laminé à chaud a presque les mêmes caractéristiques de résistance qu'un produit laminé à froid, mais en même temps il est abordable.
Essai

Avant la libération, prélever des échantillons du lot et Chèque:
- évaluer la surface - l'apparition de fissures, de films, de coquillages, de couchers de soleil à la surface n'est pas autorisée. La rouille atmosphérique locale est considérée comme une variante normale ;
- vérifier le diamètre de la barre, la courbure, le respect de la longueur ;
- estimer la limite d'élasticité, la résistance à la traction, ces études sont réalisées avant chauffage électrique ;
- les tests de pliage sont effectués avec un certain rayon avec un pli.
Les indicateurs standards, ainsi que les tolérances, sont donnés en GOST 34028-2016.
Caractéristiques

Les raccords A500S ont les caractéristiques suivantes Propriétés:
- Densité - dépend du type d'acier utilisé.
- Limite d'élasticité - 500 N / m². mm.
- Résistance temporaire - 600 N / m². mm.
- Le rapport des valeurs réelles est de 1,05.
- L'allongement est de 14, 2 et 2,5, respectivement.
- La température du chauffage électrique pour les raccords A500C n'est pas mesurée.
Toutes les caractéristiques du produit sont indiquées dans le certificat du fabricant et sur l'emballage.
Décodage
- lettre a - tige laminée à chaud, trempée thermiquement et mécaniquement ;
- 500 - seuil de rentabilité;
- DE - indique la capacité à souder le matériau.
A500SP est également produit. Cette variété a une forte adhérence au béton.

Dimensions, poids
La gamme de raccords A500S est décrite par GOST. Les cannes sont produites selon les normes en vigueur diamètre de 4 à 40 mm... Le poids de 1 mètre courant du produit fluctue de 0,099 à 9,865 kg. La longueur mesurée des produits est 6-18 mètres.
La production de tiges de longueurs mesurées et non mesurées comprises entre 6 et 12 m est autorisée.
Application des raccords А500С
Des tiges renforcées thermomécaniquement sont utilisées dans les domaines suivants:
- lors du renforcement des murs, des colonnes, des arches, des fondations;
- dans la production de structures en béton armé de tout type;
- à réception des dalles de plancher, éléments d'arcs pour ponts.
Les raccords A500C ne sont pas adaptés à une utilisation dans des conditions météorologiques extrêmes.
Transport et stockage
Le matériau d'emballage et le nombre de sangles sont déterminés par le client.
Le métal laminé est transporté par le transport de marchandises ordinaire. Stocké dans des entrepôts dans des conditions de faible humidité.
Nuances d'installation
Plus les accessoires de cette classe - soudabilité facile. L'armature des tiges est fixée par soudure, et non par ligature, comme c'est le cas par exemple lors de l'utilisation de l'A300 ou de l'A400. De plus, le matériau peut être utilisé comme pièces encastrées.
















