Les déflecteurs sont fixés aux sorties des tuyaux de ventilation naturelle sur les toits des petites entreprises, des bâtiments publics et des bâtiments résidentiels. Grâce à la pression du vent, les déflecteurs induisent un courant d'air dans les conduits de ventilation verticaux. La deuxième fonction importante des déflecteurs est d'empêcher la pluie et la neige de pénétrer dans les conduits de ventilation. Des dizaines de modèles de déflecteurs de ventilation ont été développés, dont certains sont décrits ci-dessous. Les options les plus simples pour les déflecteurs peuvent être fabriquées à la main.
- Dispositif déflecteur de ventilation
- Le principe de fonctionnement du déflecteur de ventilation
- Types de déflecteurs
- Déflecteur ASTATO
- Déflecteur statique avec ventilateur d'éjection
- Déflecteur-girouette
- Turbine rotative
- Déflecteur de ventilation DIY
- Étape 1. Calcul des paramètres du déflecteur
- Étape 2. Fabriquer un déflecteur
- Étape 3. Installation du déflecteur
- Sélection du déflecteur de ventilation
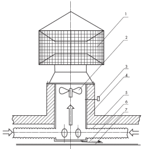
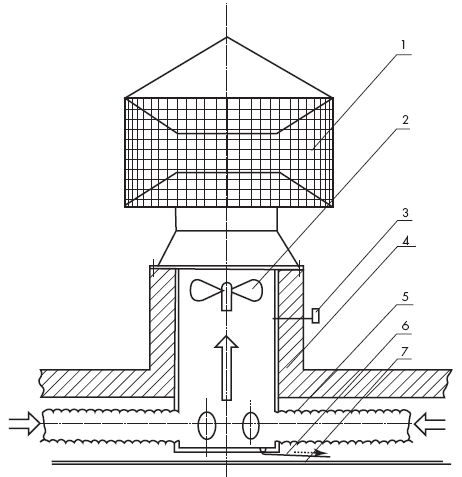
Dispositif déflecteur de ventilation

Tout type de déflecteurs de ventilation contient des éléments standards : 2 coupelles, des supports pour le couvercle et un tuyau de dérivation. Le verre extérieur se dilate vers le bas et le verre inférieur est plat. Les cylindres sont superposés, un couvercle est fixé au-dessus du dessus. Au sommet de chaque cylindre se trouvent des déflecteurs en forme d'anneaux qui changent la direction de l'air dans un déflecteur de ventilation de toute taille.
Les rebonds sont installés de telle manière que le vent dans la rue crée une aspiration à travers les espaces entre les anneaux et accélère l'évacuation des gaz de la ventilation.
Le dispositif du déflecteur de ventilation est tel que lorsque le vent est dirigé par le bas, le mécanisme fonctionne moins bien : étant réfléchi par le couvercle, il est dirigé vers les gaz qui sortent par l'ouverture supérieure. Tout type de déflecteurs de ventilation présente plus ou moins cet inconvénient. Pour l'éliminer, le couvercle est réalisé sous la forme de 2 cônes, fixés avec des bases.
Lorsque le vent est latéral, l'air évacué est évacué par le haut et par le bas en même temps. Lorsque le vent vient d'en haut, l'écoulement vient d'en bas.
Un autre dispositif pour le déflecteur de ventilation est le même verre, mais le toit a la forme d'un parapluie. C'est le toit qui joue ici un rôle important dans la réorientation du flux de vent.
Le principe de fonctionnement du déflecteur de ventilation

Le principe de fonctionnement du déflecteur de ventilation d'échappement est très simple : le vent frappe son corps, est disséqué par le diffuseur, la pression dans le cylindre diminue, ce qui signifie que le tirage dans le tuyau d'échappement augmente. Plus le corps du déflecteur crée de résistance à l'air, meilleur est le tirage dans les conduits de ventilation. On pense que les déflecteurs fonctionnent mieux sur les tuyaux de ventilation installés légèrement en biais. L'efficacité du déflecteur dépend de la hauteur au-dessus du niveau du toit, de la taille et de la forme de la carrosserie.
Le déflecteur de ventilation est gelé sur les tuyaux en hiver. Sur certains modèles avec boîtier fermé, la glace n'est pas visible de l'extérieur. Mais avec une zone ouverte du conduit, de la glace apparaît de la partie extérieure du verre inférieur et est immédiatement perceptible.
Un déflecteur correctement dimensionné peut augmenter l'efficacité de la ventilation jusqu'à 20 %.
Le plus souvent, les déflecteurs sont utilisés en ventilation à tirage naturel, mais parfois ils renforcent la ventilation forcée. Si le bâtiment est situé dans des zones où les vents sont peu fréquents et faibles, la tâche principale de l'appareil est d'empêcher une diminution ou un "renversement" du tirage.
Types de déflecteurs

En choisissant un déflecteur de ventilation, vous pouvez être confus par la variété.
Les types de déflecteurs de ventilation les plus courants aujourd'hui :
- TsAGI ;
- Grigorovitch ;
- sous la forme d'une étoile "Shenard";
- ASTATO ouvert ;
- sphérique "Volper";
- en forme de H.
Les déflecteurs de ventilation en plastique sont rarement utilisés car ils sont de courte durée et fragiles. Il est permis d'installer des déflecteurs en plastique pour la ventilation des sous-sols, des sous-sols. Les déflecteurs en plastique sont largement utilisés uniquement comme accessoires de voiture.
Certains consommateurs appellent à tort des dispositifs de distribution pour la ventilation des déflecteurs de plafonds tendus. Les déflecteurs de ventilation sont installés uniquement aux extrémités des conduits d'évacuation. La ventilation des plafonds d'échappement est assurée par des diffuseurs et des diffuseurs à travers lesquels l'air pénètre dans la pièce de manière uniforme et dans les quantités requises.
Déflecteur ASTATO
Un modèle de déflecteur de ventilation rotatif qui utilise à la fois le tirage mécanique et le vent. Avec une puissance éolienne suffisante, le moteur est coupé et l'ASTATO fonctionne selon le principe du déflecteur de ventilation par aspiration. Un moteur électrique est démarré au calme, ce qui n'affecte en rien l'aérodynamisme du système de ventilation, mais fournit un vide suffisant (pas plus de 35 Pa).
Le moteur électrique est très économique, il est allumé par un signal provenant d'un capteur qui mesure la pression à la sortie du conduit de ventilation. En principe, le déflecteur de ventilation est actionné par le vent pendant la majeure partie de l'année. Le dispositif déflecteur de ventilation ASTATO comprend un capteur de pression et un relais temporisé, qui démarrent et arrêtent automatiquement le moteur. Cela peut être fait manuellement si vous le souhaitez.
Déflecteur statique avec ventilateur d'éjection

Le déflecteur de ventilation partiellement rotatif est un nouveau produit qui connaît un grand succès depuis plusieurs années. Des déflecteurs DC sont installés aux sorties des conduits de ventilation, des ventilateurs basse pression à émission sonore réduite sont situés juste en dessous. Les ventilateurs sont démarrés par un transducteur de pression. Le verre est en acier galvanisé avec isolation thermique. Des conduits d'aération et d'évacuation insonorisés y sont raccordés. Toute la structure est couverte par le bas par un plafond suspendu.
Déflecteur-girouette
L'appareil appartient à la catégorie des déflecteurs de ventilation actifs. Il est mis en rotation par la force des courants d'air en mouvement. Le boîtier avec couvercles tourne grâce au module de roulement. Lors de la conduite entre les auvents, le vent forme une zone de pression réduite. L'avantage de ce type de déflecteur de ventilation est la possibilité de « s'adapter » à n'importe quelle direction du vent et une bonne protection de la cheminée contre le vent. L'inconvénient d'un déflecteur de ventilation rotatif est la nécessité de lubrifier les roulements et de surveiller leur état. En cas de fortes gelées, la girouette gèle et remplit mal sa fonction.
Turbine rotative
Par temps calme, un turbo déflecteur de ventilation en forme de turbine est totalement inutile. Par conséquent, les turbines rotatives ne sont pas si répandues, malgré leur aspect attrayant. Ils sont installés uniquement dans les zones avec un vent stable. Une autre limitation est qu'un tel turbo déflecteur ne peut pas être utilisé pour les cheminées de poêles à combustible solide, car il peut se déformer.
Déflecteur de ventilation DIY

Le plus souvent, un déflecteur Grigorovich est fabriqué de leurs propres mains pour la ventilation. Le dispositif est assez simple, et le fonctionnement de ce type de déflecteur de ventilation est ininterrompu.
Pour fabriquer un déflecteur de ventilation Grigorovich de vos propres mains, vous aurez besoin de:
- acier galvanisé ou en tôle d'acier inoxydable;
- rivets, écrous, boulons, colliers de serrage;
- perceuse électrique;
- ciseaux pour le métal;
- traceur;
- règle;
- crayon;
- boussole;
- plusieurs feuilles de carton;
- ciseaux sur papier.
Étape 1. Calcul des paramètres du déflecteur

A ce stade, vous devez calculer les dimensions du déflecteur de ventilation et tracer un schéma. Tous les calculs initiaux sont basés sur le diamètre du conduit de ventilation.
H = 1,7 x D,
Où H - hauteur du déflecteur,ré - diamètre de la cheminée.
Z = 1,8 x D,
Où Z - largeur du bonnet,
d = 1,3 x D,
ré - largeur du diffuseur.
Sur du carton, nous créons un schéma des éléments du déflecteur de ventilation, le faisons vous-même et le découpons.
Si vous n'avez aucune expérience dans la fabrication de déflecteurs, nous vous recommandons de vous exercer sur un modèle en carton.
Étape 2. Fabriquer un déflecteur
Nous dessinons un scribe autour des motifs sur une feuille de métal et à l'aide de ciseaux, nous obtenons des pièces du futur appareil. Nous connectons les pièces entre elles avec de petits boulons, des rivets ou des soudures. Pour installer le capuchon, nous découpons les supports sous forme de bandes incurvées. Nous les fixons à l'extérieur du diffuseur, attachons le cône inversé au parapluie. Tous les composants sont prêts, maintenant l'ensemble du diffuseur est assemblé directement sur la cheminée.
Étape 3. Installation du déflecteur
Nous installons le verre inférieur sur le tuyau de cheminée et le fixons avec des boulons. Nous mettons le diffuseur (verre supérieur) sur le dessus, le fixons avec une pince, fixons le capuchon aux supports. Le travail de création d'un déflecteur de ventilation de vos propres mains est complété par l'installation d'un cône inversé, qui aidera l'appareil à fonctionner même avec une direction de vent indésirable.
Sélection du déflecteur de ventilation

Tout propriétaire souhaite choisir un déflecteur pour une ventilation la plus efficace possible.
Les meilleurs modèles de déflecteurs de ventilation par aspiration sont :
- TsAGI en forme de disque;
- modèle DS;
- ASTATO.
Le fonctionnement du déflecteur lors des calculs est déterminé par deux paramètres :
- coefficient de décharge;
- coefficient de pertes locales.
Les coefficients dépendent uniquement du modèle et non des dimensions du déflecteur de ventilation.
Par exemple, pour DS, le coefficient de pertes locales est de 1,4.
Le coefficient de vide est influencé par la vitesse du vent.
Calcul d'un déflecteur pour ventilation type DS.
| Vitesse du vent en km/h | 0,005 | 0,007 | 0,01 |
| Aspirateur de vent supplémentaire, Pa | 11 | 21,6 | 44,1 |
Une méthode a été développée pour sélectionner un déflecteur de ventilation en fonction du vide total du vent.
Si les déflecteurs de ventilation ont été injustement oubliés ces dernières décennies et ont été largement remplacés par des parapluies, ils font aujourd'hui un retour en force. C'est un moyen vraiment peu coûteux et efficace d'améliorer les performances de la ventilation naturelle dans les bâtiments résidentiels et publics.
Une vidéo sur un déflecteur pare-étincelles pour la ventilation et comment le choisir :









Bonjour! Un article très intéressant, mais vous n'avez pas de dessins du déflecteur, du moins indicatifs. Je viens d'équiper la datcha et je dois finir la zone de la cheminée. Je vous serais reconnaissant de votre aide.
Bonjour! Les dimensions sont données dans l'article sur l'une des images. A partir d'eux, il est déjà possible de calculer la coupe en place.