Des conditions confortables peuvent être créées à partir de petites choses, par exemple, un interrupteur équipé d'un éclairage. Cet élément présente de nombreux avantages, à condition que le bon appareil soit acheté correctement installé.
- Quels sont les interrupteurs avec l'indication on
- Interrupteur lumineux
- Avec diode
- Pour économiser de l'électricité avec un condensateur
- Comment connecter un interrupteur lumineux
- Où passer les fils
- Branchement d'un interrupteur avec une touche rétroéclairée
- Comment connecter un interrupteur avec deux boutons et rétro-éclairage
- Comment éteindre la LED dans l'interrupteur
- Comment se débarrasser des lampes "clignotantes" et des problèmes possibles
Quels sont les interrupteurs avec l'indication on

Le rétroéclairage des interrupteurs électriques est un néon ou une LED. Il est presque impossible de les distinguer visuellement, la seule différence est que les lampes au néon consomment moins d'électricité, mais créent une chute de tension plus importante. Le courant minimum pour la lueur des LED est de 2 mA, la chute de tension est de 2 V, et pour les variétés au néon, ces indicateurs sont respectivement de 0,1 mA et 70 V. Ceci est important à considérer lors du choix d'un interrupteur électrique.
Les interrupteurs avec indicateur peuvent ne pas fonctionner correctement avec différents types de lampes. La conception fonctionne en douceur et efficacement avec les lampes halogènes et à incandescence. Il est préférable de refuser le fonctionnement des LED et des lampes à économie d'énergie ou de prendre des mesures spéciales. Les dysfonctionnements les plus courants - le voyant clignote en position d'arrêt de l'interrupteur, le voyant de l'interrupteur ne s'allume pas.
Le rétro-éclairage peut être équipé sur tous les types d'interrupteurs et avec n'importe quel nombre de touches. L'emplacement de l'indicateur lumineux peut être différent : en haut ou au milieu de la clé, au centre ou en bas du corps de l'appareil lui-même.
Interrupteur lumineux

La connexion d'un interrupteur équipé de voyants lumineux est généralement simple. Il suffit de choisir un modèle de qualité ou de mettre à niveau un modèle déjà acheté.
Le rétroéclairage de l'appareil se compose de lampes au néon ou de LED à résistance connectées en série les unes avec les autres. Ce petit circuit est connecté en parallèle avec le contact de l'interrupteur. Le circuit est toujours sous tension, que la lumière soit allumée ou éteinte.
Si l'interrupteur est allumé, la couleur du rétroéclairage est fermée par un contact qui a une tension inférieure. Presque aucun courant ne traverse le rétro-éclairage, par conséquent, il ne brûle pas.
Une résistance de limitation de courant est connectée en série avec la lampe au néon ou la LED dans le commutateur. Il est installé afin de réduire le courant à des paramètres optimaux. Les LED et les lampes au néon nécessitent un ampérage différent, de sorte que les résistances sont réglées à des valeurs différentes.
- Pour les ampoules au néon - 0,5-1 MΩ, puissance dissipée - 0,25 W.
- Pour les LED - 100-150 kOhm, la puissance dissipée minimale est de 1 W.
Se connecter directement avec une résistance n'est pas la meilleure option. Cela est dû aux performances du circuit, ainsi qu'à la tendance de la résistance à surchauffer. Il est également possible qu'un courant inverse circule dans le circuit électrique. Cela entraînera inévitablement une panne de la LED.
Avec diode

La première étape consiste à résoudre le problème du flux de courant inverse. Il est facile de le réparer - vous devez installer la diode en parallèle avec l'élément LED.
Si vous connectez l'appareil selon le schéma spécifié, la dissipation de puissance de la résistance ne dépassera pas 1 W, la résistance fluctuera entre 100 et 150 kOhm.
Il est important de choisir la bonne diode, qui, en termes de caractéristiques techniques, sera similaire aux paramètres d'une ampoule LED.
Un tel schéma, malgré la simplicité de mise en œuvre et les performances, présente un inconvénient: le rétroéclairage consomme une quantité considérable d'électricité et la résistance chauffe.
Ce type d'interrupteur lumineux est compatible et fonctionnera correctement avec les lampes à incandescence. Si nous parlons de types économiques et de lustres à LED, le travail sera observé par intermittence.
Pour économiser de l'électricité avec un condensateur

Pour éliminer le problème de surchauffe de la résistance, ainsi que pour réduire la quantité d'énergie consommée, le circuit est en outre équipé d'un condensateur. Dans ce cas, les paramètres de la résistance subissent également des modifications, car sa tâche est de limiter la charge du condensateur.
La valeur de la résistance fluctuera entre 100 et 500 AM et les paramètres du condensateur - 1 mF, 300 V. Les valeurs de résistance sont définies expérimentalement.
L'avantage d'un tel schéma est qu'il ne consomme pratiquement pas d'électricité. La consommation mensuelle est d'environ 50 watts. Cependant, placer un condensateur dans un espace très restreint est problématique. De plus, le circuit ne garantit pas un fonctionnement ininterrompu avec des lampes à économie d'énergie et à LED.
Comment connecter un interrupteur lumineux

Le principe de fonctionnement de l'appareil est basé sur les lois d'Ohm. Le courant électrique circule le long du chemin de la plus petite résistance lorsque des lignes de résistances différentes sont connectées en parallèle.
Le schéma de connexion a la même résistance élevée, quel que soit le type d'indicateur utilisé - une lampe néon ou une LED. Ce chiffre est fourni par une résistance de limitation.
Lorsque l'interrupteur est ouvert, le luminaire sert de conducteur ordinaire. Un courant le traverse avec une faible intensité, ce qui est suffisant pour le bon fonctionnement du rétroéclairage.
Où passer les fils
Avant de procéder à l'installation d'un interrupteur avec indicateur, il est important de comprendre la conception. Pour cela, il est recommandé de retirer les clés. Le plus souvent, ils sont fixés au corps à l'aide de goupilles ou d'un loquet.
Sous les touches, vous pouvez voir les bornes pour connecter les fils. Presque toujours, ce sont des plaquettes de cuivre visuellement petites avec des vis.
Pour connecter les fils, leur extrémité doit être retirée de la couche isolante et le fil doit être dénudé, maintenu sous la vis et la plaque de contact, et solidement fixé avec le premier. Il doit être serré avec effort, mais l'essentiel est de ne pas en faire trop, la structure est plutôt fragile. Au bout d'un moment, il vaut mieux vérifier à nouveau la qualité de la connexion et la resserrer à nouveau, car le cuivre se prête légèrement sous la vis.
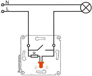
Branchement d'un interrupteur avec une touche rétroéclairée

Le schéma de câblage est extrêmement simple - un zéro est fourni directement du blindage au luminaire et une phase est appliquée à l'une des bornes du commutateur. À partir de la deuxième borne, le fil est acheminé à la sortie de l'appareil d'éclairage.
La mise en œuvre de ce schéma est simple et rapide. Le nombre de bornes dépend du nombre de clés dans le commutateur. Sur une même structure, il n'y a que 2 bornes, et la prise doit être équipée de deux fils. Il est tout simplement impossible de se confondre. Il est nécessaire de démarrer un fil sous la borne du blindage et le second du dispositif d'éclairage. Où et lequel n'a pas d'importance.
Comment connecter un interrupteur avec deux boutons et rétro-éclairage

Le schéma de connexion de cette structure électrique n'est pas très différent du précédent. Un fil à trois conducteurs est amené à la prise. Deux fils sont destinés à un groupe d'appareils d'éclairage et un à l'alimentation électrique.C'est là que s'arrêtent toutes les différences.
Dans la mise en œuvre, la méthode est un peu plus compliquée, puisqu'il faut trouver un conducteur de phase et le connecter à la prise requise. Le double interrupteur a trois contacts de connexion. La phase est le plus souvent affichée en marron ou en rouge, et à partir du dispositif d'éclairage la couleur des fils peut être la même. Avant le raccordement, la présence de tension de phase est vérifiée, si nécessaire, le fil est marqué.
Comment éteindre la LED dans l'interrupteur
Toutes les actions de démontage d'une lampe néon ou LED se réduisent à la technologie de remplacement d'un interrupteur classique. L'algorithme des actions est le suivant :
- Mettez complètement l'appartement, la maison hors tension, vérifiez la tension de sortie.
- Retirez les touches décoratives avec un tournevis plat ou en faisant levier des deux côtés avec vos doigts.
- Les boulons de fixation sont dévissés, la structure est retirée du boîtier de montage.
- A l'aide d'un tournevis indicateur, les contacts des conducteurs sont revérifiés pour l'absence de tension.
- Une fois le schéma de connexion mémorisé, les fils sont déconnectés.
La conception démontée de l'interrupteur est soigneusement examinée. Il est équipé de loquets qui relient les deux parties du corps. Une fois qu'ils sont ouverts, le disjoncteur se divisera. Une partie et sera équipé d'une résistance avec un voyant lumineux. Les fils des composants radio sont soigneusement coupés de la sortie de rétroéclairage et retirés. L'interrupteur est assemblé et installé dans l'ordre inverse.
Comment se débarrasser des lampes "clignotantes" et des problèmes possibles

Le principal problème auquel sont confrontés les propriétaires d'interrupteurs avec indicateurs est le scintillement des lampes et l'indicateur lui-même. Surtout, ce phénomène provoque une gêne dans les chambres et un bureau. Une mauvaise utilisation affectera négativement la durée de fonctionnement de l'interrupteur lui-même et de la lampe. Vous pouvez résoudre le problème des manières suivantes :
- Privilégiez les lampes LED compatibles avec les voyants des interrupteurs. De tels luminaires sont déjà équipés d'un démarrage progressif et d'une résistance. L'appareil est connecté en quelques secondes, il ne clignote donc pas lorsque le condensateur est déchargé. Le principal inconvénient est le coût élevé de ces lampes.
- La connexion parallèle d'une résistance shunt aidera à résoudre le problème. Cela n'affecte pas directement le mode de fonctionnement, mais un petit courant circulera toujours à travers la résistance. Sa puissance doit être de 2 W, et la résistance doit être de 50 kOhm.
- Vous pouvez également connecter une lampe à incandescence ordinaire avec une version à économie d'énergie. Dans ce cas, le courant circulant dans le circuit indicateur traversera le filament. L'inconvénient de cette méthode est la grande quantité d'électricité consommée.
- Une installation incorrecte peut être la cause d'un fonctionnement incorrect. Par exemple, une erreur commise peut entraîner la coupure du zéro et non de la phase par l'interrupteur. Cela peut entraîner non seulement un fonctionnement incorrect, mais également des courts-circuits. Pour résoudre le problème, il suffit de brancher correctement l'interrupteur ou d'appeler les électriciens.
Le moyen le plus simple, mais pas le plus pratique, de se débarrasser du problème consiste à supprimer le rétroéclairage de l'interrupteur ou à installer une modification conventionnelle qui n'est pas équipée d'ampoules.










